Adaptable au
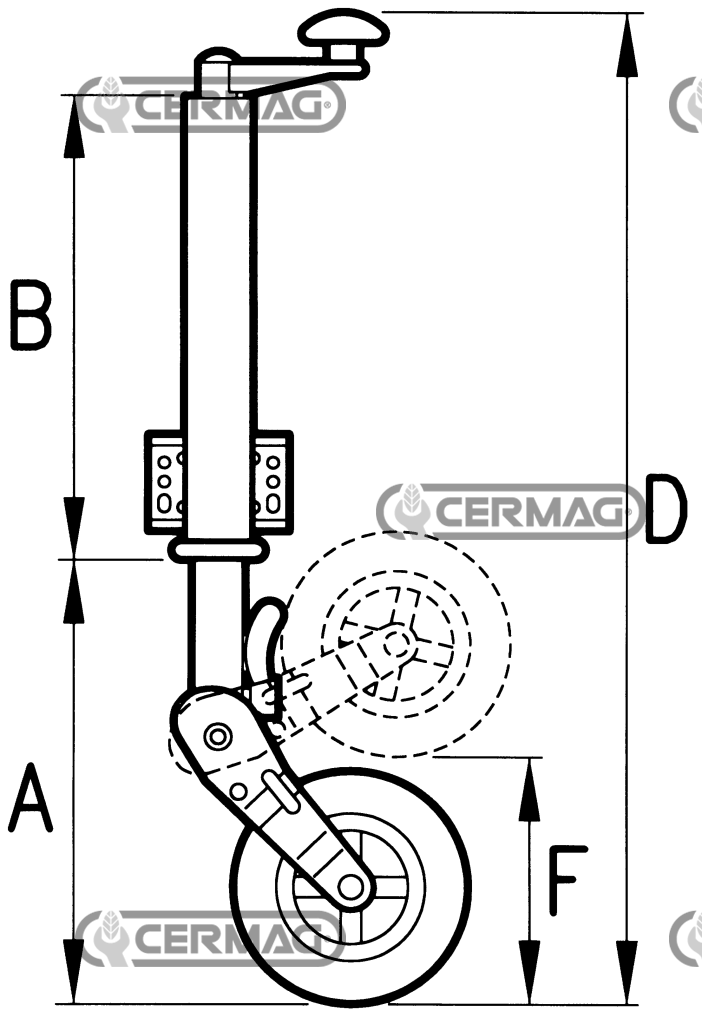
Bequille à roue basculante
Débit
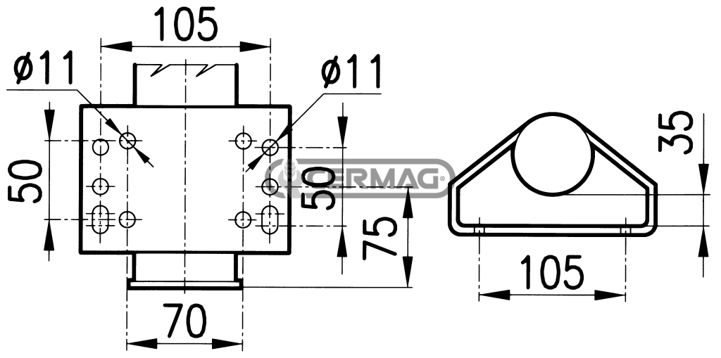
400 kg
servotimone d.60 gomma ribaltabile
Disponibile nelle categorie : BEQUILLES

